您當前所在位置:首頁 > NE板鏈斗式提升機
板鏈式斗式提升機是應用廣泛的一種垂直提升設備,它被用來提升各種散狀物料,如:礦石、煤、水泥、水泥熟料等。

NE型板鏈斗式提升機是由國外學習和借鑒先進技術研制的新產品,主要技術參數符合機械部標準(JB3926-85)。采用自流式裝料,重力式卸料.鏈條是優質合金鋼高強度板式鏈條,耐磨而可靠。驅動部分采用硬齒面減速器。該機適用于中、大塊和有磨琢性的物料(如石灰石、水泥熟料、石膏、塊煤)的垂直輸送,物料溫度在250℃以下。

NE系列板鏈式斗式提升機在各工業國家應用極廣,由于能耗低,正在逐步淘汰HL型等環鏈式提升機。該系列為流入式喂料,物料流入料斗內靠板鏈提升到頂端,在物料重力作用下自行卸料。NE系列板鏈式斗式提升機共有11種型號:NE15、NE30、NE50、NE150、NE200、NE300、NE400、NE500、NE600、NE800。

1.密封性好,環境污染少。
2.操作、維修方便、易損件少。
3.使用成本低,由于能耗低和維修少,使用成本極低。
4.運行可靠,先進的設計原理,保證整機運行的可靠性。
5.結構剛性好,精度高。機殼經折邊和中間壓筋,再經焊接,剛性好、外觀漂亮。
6.機械尺寸小,與同等提升量的其它各種提升機相比,這種提升機的機械尺寸較小。
7.輸送能力大,該系列提升機具有NE15~NE800多種規格。提升量范圍為15~800m3/h 。
8.操作方便,維修少,易損件少。輸送鏈為套筒滾子鏈,誘導式重力卸料,用于各種粉狀、塊狀物料的垂直提升。
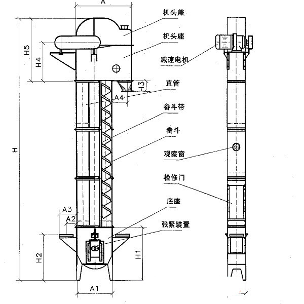
1、上部裝置:安裝有軌道(雙排道),防止鏈條擺動,逆止器,防止料斗回轉,物料阻滿下部機殼,卸料口裝有橡膠板防止回料。
2、中間節:部分中間節裝有軌道(雙排節)以防止鏈條工作中擺動,部分中間節裝有檢修門以便維修。
3、下部裝置:安裝有張緊裝置, NE15~NE50采用彈簧張緊,NE100~NE800采用重錘箱張緊。
4、上下鏈輪采用 ZG310-570。整體調質,HB229-269齒面淬火HRC40~48。
5、板鏈:鏈板采用 45 # HRC36~42 。
a、采用的板鏈有較高的剪切強度、疲勞強度及耐磨性能,運轉故障率低,使用壽命長;b 、采用較低的鏈速度(o.5米/秒);c、 采用大容量的料斗和較小的斗距,驅動功率低且輸送量大。尤為適應提升破碎后的石灰石和水泥熟料(≥NE50)。


NE系列板鏈式斗式提升機由運行部件、驅動裝置、上部裝置、中部機殼、下部裝置組成。
運行部件---由料斗和板式鏈條組成,NE30以及下采用單排鏈,NE50--NE800采用雙排鏈。
驅動裝置---采用多種驅動組合驅動,(依用戶實際需要而定).驅動平臺上裝有檢修架和欄桿。驅動制裝置分左和右裝兩種。
上部裝置---安裝有軌道(雙排鏈)、逆止器、卸料口裝有防回料橡膠板。
中間節---部分中間節裝有軌道(雙鏈),以防止鏈條工作中擺動。

NE系列板鏈式斗式提升機是流入式喂料,物料流入料斗內靠板鏈提升到頂端,在物料重力作用下自行卸料。本系列提升機規格多(NE15~NE800共11種)提升量大;且生產能高,能耗較低,可逐步代替其他類型提升機,其主要參數見下表。該機采用全封式機殼鏈速低,因此無功功率損耗少,噪聲低,壽命長。

| 型號 | 輸送量(m3/h) | 顆粒mm | 物料松散密度(t/m3) | 提升高度m | 功率范圍km |
| NE15 | 10~15 | 40 | 0.6~2.0 | 35 | 1.5~4 |
| NE30 | 18.5~31 | 55 | 0.6~2.0 | 50 | 1.5~11 |
| NE50 | 35~60 | 60 | 0.6~2.0 | 45 | 1.5~18.5 |
| NE100 | 75~110 | 70 | 0.6~2.0 | 45 | 5.5~30 |
| NE150 | 112~165 | 90 | 0.6~2.0 | 45 | 5.5~45 |
| NE200 | 170~220 | 100 | 0.6~1.8 | 40 | 7.5~55 |
| NE300 | 230~340 | 125 | 0.6~1.8 | 40 | 11~75 |
| NE400 | 340~450 | 130 | 0.6~1.8 | 30 | 18.5~90 |
| NE500 | 450~550 | 140 | 0.6~1.8 | 30 | 30~110 |
| NE600 | 550~660 | 150 | 0.6~1.8 | 30 | 37~132 |
| NE800 | 680~830 | 165 | 0.6~1.8 | 30 | ~160 |
注:上表中所給出的技術參數為部分板鏈斗式提升機的參數,其他型號規格的板鏈斗式提升機的參數這里不再一一列出,咨詢具體詳細參數請致電我公司業務或技術部!

1.NE型斗式提升機結構
NE系列斗式提升機由運行部件、驅動裝置、上部裝置、中部機殼、下部裝置組成。
(一)運行部件 由料斗和專用鏈條組合驅動NE30及以下采用單排鏈,NE50~NE800采用雙排鏈。
(二)驅動裝置 采用多種驅動組合驅動(依用戶試機需要而定)。驅動平臺上裝有檢修架和欄桿。驅動裝置分左裝和右裝兩種。
(三)上部裝置 安裝有軌道(雙排鏈)、逆止器,卸料口裝有防回料橡膠板。
(四)中間節 部分中間節裝有軌道(雙鏈),以防止鏈條在工作中擺動。
(五)下部裝置 安裝有自動張緊裝置。
2.零部件的選用機檢驗
①選用高填充率耐磨料斗
②選用合金鋼耐磨套筒滾子鏈。銷軸和外鏈板固定,套筒和內鏈板固定可有效地減少承載部件的磨損。
③頭部鏈輪由輪轂和分體齒圈組成。尾部鏈輪采用光齒,能防止頭尾不同步引起的跳齒和磨損現象。
④零件加工后,采用德國進口的網帶式自動翻轉熱處理設備,均勻滲碳淬火。
⑤采取普檢和破斷拉伸試驗檢測手段,充分保證技術要求。
1.說明

由于NE型斗式提升機尚未定型,所以未制定統一的外形及安裝尺寸,目前國內已有多家制造廠生產NE型斗式提升機的系列產品,各制造商的產品外形及安裝尺寸稍有差異,本文中列出的NE型斗式提升機的外形及安裝尺寸供基礎工程設計(初步設計)階段設備選型時使用,在詳細工程(施工圖設計)階段時,必須按供貨商提供的資料進行設計。
2.訂貨須知

NE型斗式提升機的外形尺寸見安裝圖及外形與安裝尺寸表。提升機頂部設有檢修用的起吊支架,若提升機設在室內,且提升機頂部設有設備安裝吊鉤時,可在訂貨時提出取消頂部起吊支架。提升機的上機殼設有驅動裝置平臺,若現場空間不能滿足平臺要求的尺寸時,可按現場實際情況配置非標準尺寸平臺,但應在訂貨時提出。
每臺NE型斗式提升機一般只配套供應一節帶有檢視門的中間機殼。若用戶要求增加帶檢視門中間機殼數量或改變檢視門的開孔位置,應在訂貨時注明。